Aktivní laserový dálkoměr UNI-T LM1000 - pro měření vzdálenosti, výšky, úhlu a rychlosti v rozmezí 0-915m (1000yd) / 0-300km/h.
Dálkoměrné přístroje slouží
pro rychlé a přesné bezkontaktní měření vzdálenosti objektů a budov při stavebních, inspekčních, zeměměřických pracích (geodézii), sportu, lovu, fotografování, nebo navigaci. Laserové dálkoměry mají násobně větší přesnost než ultrazvukové dálkoměry a to hlavně při měření větších vzdáleností.

Model LM1000 disponuje nejen funkci
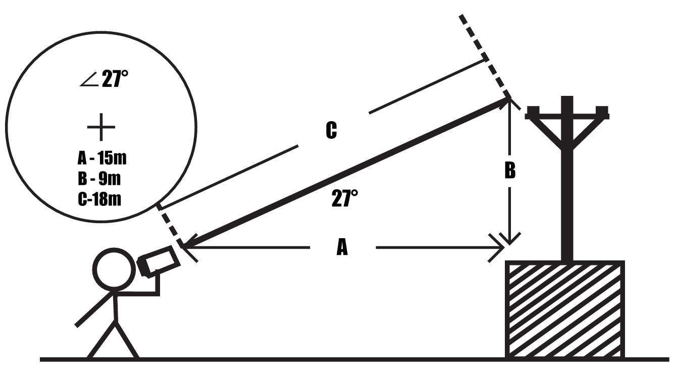
měření vzdálenosti 0-915m s rozlišením 1m a přesností +-0,5m ale díky vestavěnému měření úhlu
dokáže spočítat také výšku zaměřené budovy či objektu od země. Dálkoměr za pomocí měření úhlu dokáže vypočítat všechny tři strany trojúhelníku A,B, C, viz obrázek. Dálkoměr kromě měření vzdálenosti, úhlu a výšky zvládne díky funkci pulsního laseru také
měřit rychlost pohybujícího (vzdalujícího se, nebo přibližujícího se od dálkoměru) se předmětu například automobilu, a to v rozmezí 0-300km/h s přesností 0,2%. Pulsní laser je malého výkonu, je neviditelný a není nebezpečný pro lidské oko.
Lehký, kompaktní měřič vzdálenosti LM1000 v červeno černé barvě s pogumovaným povrchem disponuje náhledovou
očnicí s optickým zvětšením 7x pro rychlé a přesné zaměření objektu, při náhledu skrze očnici vidí uživatel všechny potřebná data jako je úhel, vzdálenost, rychlost, nebo indikaci stavu nabití baterie. Na horní straně se nachází dvě tlačítka, jedno slouží pro přepínání funkce měření vzdálenosti / měření rychlosti a druhé tlačítko pro spuštění samotného měření. Po zmáčknutí tlačítka pro měření je
výsledek naměřené hodnoty zobrazen téměř okamžitě s minimální prodlevou v řádu ms. Měření rychlosti probíhá kontinuálně přidržením tlačítka a míření středového kříže v očnici dálkoměru na pohybující se předmět.
Přístroji nechybí ani funkce automatického vypnutí, a navíc disponuje stativovým závitem 1/4" pro uchycení ke stativu a přední krytkou pro ochrannu optické soustavy. Díky vestavěnému li-lion akumulátoru o kapacitě 1500mA zvládne
dálkoměr na jedno nabití až 8 000 měření, nabíjení probíhá skrze konektor mikro - USB, stav nabití indikuje zelená a červená dioda pod očnicí.
Laserový dálkoměr je dodáván včetně uzavíratelného skořepinového pouzdra, poutka na zápěstí a nabíjecího kabelu USB - mikro USB.
Obsah balení: dálkoměr, nabíjecí kabel, poutko na zápěstí, obal.
Parametry
| Model |
LM1000 |
| Funkce |
měření vzdálenosti, výšky, rychlosti |
| Rozsah měření vzdálenosti + přesnost |
0-915m - +-0,5m |
| Rozsah měření výšky + přesnost |
0-412m +-0,5m |
| Rozsah měření úhlu + přesnost |
0-60° +-1° |
| Rozsah měření rychlosti + přesnost |
0-300km/h +-0,2% |
| Očnice zvětšení |
7x |
| Napájení |
Li-Ion 1500mAh |
| Stativový závit |
ano 1/4" |
| Rozměry |
76x46x116mm VxŠxH |
| Hmotnost |
225g |
Více parametrů